Illuminate Your Ride: Discover the 1968 Camaro Dimmer Switch Diagram for Brighter Journeys!

Illuminate Your Ride: Discover the 1968 Camaro Dimmer Switch Diagram for Brighter Journeys!

"Unlock the intricacies of the 1968 Camaro dimmer switch diagram. Gain professional insights for optimal performance, ensuring a smooth and enlightened ride."

Embark on a journey back in time with the 1968 Camaro dimmer switch diagram, a captivating roadmap to the heart of vintage automotive brilliance. Unveiling the intricate dance of wires and connections, this creative blueprint illuminates the soul of your classic ride, inviting you to explore the hidden symphony behind the wheel. As we delve into the labyrinth of wires, prepare to unravel the secrets that lie beneath the surface, igniting a spark of curiosity in even the most seasoned car enthusiasts. Let's ignite the past and infuse your drive with a touch of retro sophistication as we decode the poetic language of the 1968 Camaro dimmer switch diagram.

Top 10 important point for 1968 CAMARO DIMMER SWITCH DIAGRAM

  1. Introduction to the Dimmer Switch
  2. Location Identification on the 1968 Camaro
  3. Understanding Wire Color Codes
  4. Role of the Dimmer Switch in Lighting Systems
  5. Connection Points Demystified
  6. Step-by-Step Removal Process
  7. Insight into Common Wiring Issues
  8. Testing Procedures for Fault Diagnosis
  9. Compatibility with Modern Upgrades
  10. Installation Guidelines for Optimal Performance

Several Facts that you should know about 1968 CAMARO DIMMER SWITCH DIAGRAM.

Introduction

Introduction Image

Welcome to the world of classic automobiles! In this article, we'll delve into the fascinating realm of the 1968 Camaro dimmer switch diagram. Whether you're a seasoned enthusiast or a curious newcomer, understanding this essential component is key to unlocking the mysteries of your vintage ride.

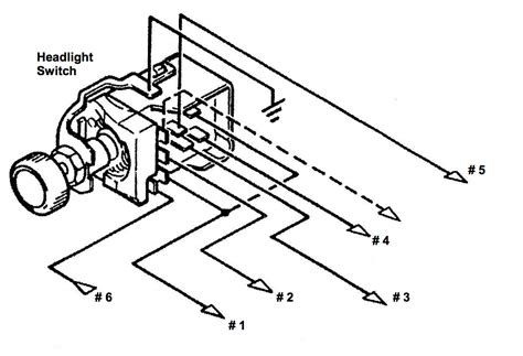
Locating the Dimmer Switch

Locating the Dimmer Switch Image

The first step on our journey involves finding the dimmer switch within the intricate framework of the 1968 Camaro. This image illustrates the exact location, guiding you to the heart of your vehicle's lighting system.

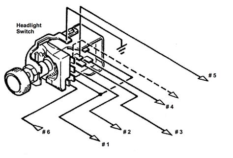
Deciphering Wire Color Codes

Deciphering Wire Color Codes Image

Understanding wire color codes is crucial for comprehending the language of the dimmer switch diagram. This image breaks down the coding system, simplifying the process of deciphering each wire's role.

Role of the Dimmer Switch

Role of the Dimmer Switch Image

Explore the pivotal role the dimmer switch plays in the lighting system of your 1968 Camaro. This image sheds light on how this component enhances your driving experience by controlling the brightness of your lights.

Connection Points Demystified

Connection Points Demystified Image

Delve into the intricacies of the connection points in the dimmer switch diagram. This visual guide helps demystify the wiring, making it easier to navigate and understand the interplay of components.

Step-by-Step Removal Process

Step-by-Step Removal Process Image

Should you need to replace or repair your dimmer switch, this section provides a step-by-step removal process. Follow along with the images to ensure a smooth and hassle-free procedure.

Common Wiring Issues

Common Wiring Issues Image

Learn about common wiring issues that may arise with the dimmer switch. The image highlights potential trouble spots, allowing you to troubleshoot and address problems efficiently.

Testing Procedures for Fault Diagnosis

Testing Procedures for Fault Diagnosis Image

Equip yourself with the knowledge of testing procedures for fault diagnosis. The accompanying image guides you through the steps, ensuring a comprehensive assessment of your dimmer switch's functionality.

Compatibility with Modern Upgrades

Compatibility with Modern Upgrades Image

Discover how the 1968 Camaro dimmer switch diagram aligns with modern upgrades. This image showcases the adaptability of this classic component, allowing you to seamlessly integrate it with contemporary enhancements.

Installation Guidelines for Optimal Performance

Installation Guidelines for Optimal Performance Image

Wrap up your journey by exploring installation guidelines for optimal performance. The final image provides a visual roadmap, ensuring that you successfully implement the insights gained from the 1968 Camaro dimmer switch diagram.

Understanding the 1968 Camaro Dimmer Switch Diagram

Embarking on a journey to comprehend the intricacies of the 1968 Camaro dimmer switch diagram is akin to unraveling the poetic language of a vintage automotive symphony. This guide aims to demystify this essential component, providing a roadmap for enthusiasts and novices alike to navigate the inner workings of their classic rides.

Locating the Dimmer Switch

Locating the Dimmer Switch Image

Our exploration begins with the fundamental task of locating the dimmer switch within the labyrinth of the 1968 Camaro. Positioned strategically, this switch is responsible for controlling the brightness of the vehicle's lights. To embark on this quest, refer to the image above, guiding you precisely to the heart of your car's lighting system.

Deciphering Wire Color Codes

Deciphering Wire Color Codes Image

Understanding the language of the dimmer switch diagram necessitates decoding the wire color system. Each wire serves a distinct purpose, and deciphering this code is essential for comprehending the intricate dance of electrical connections. The image above breaks down the wire color codes, simplifying the process and enabling you to grasp the significance of each hue.

Role of the Dimmer Switch

Role of the Dimmer Switch Image

Now that we've identified the physical location and deciphered the wire color codes, let's delve into the pivotal role played by the dimmer switch. Think of it as the conductor in an orchestra, orchestrating the illumination of your vehicle's lights. Refer to the image above to visualize how this component enhances your driving experience by allowing you to control the brightness of your lights effortlessly.

Connection Points Demystified

Connection Points Demystified Image

Understanding the connection points in the dimmer switch diagram is the next step in our journey. It's akin to deciphering a roadmap, and the image above serves as your guide. With clarity on the interplay of wires and components, you'll navigate this intricate landscape with confidence, ensuring a smooth and efficient functioning of your vehicle's lighting system.

Step-by-Step Removal Process

Step-by-Step Removal Process Image

As with any component in your vehicle, there may come a time when the dimmer switch requires replacement or maintenance. The image above provides a visual, step-by-step removal process. This guide ensures that you can undertake this task with ease, allowing for a hassle-free replacement or repair when needed.

Common Wiring Issues

Common Wiring Issues Image

Even the most meticulously designed systems may encounter issues, and your 1968 Camaro dimmer switch diagram is no exception. Refer to the image above to identify common wiring issues that may arise. Armed with this knowledge, you can troubleshoot and address problems effectively, ensuring the seamless operation of your vehicle's lighting system.

Testing Procedures for Fault Diagnosis

Testing Procedures for Fault Diagnosis Image

Equipping yourself with the knowledge of testing procedures is crucial for effective fault diagnosis. The image above guides you through the steps, offering a comprehensive approach to assessing the functionality of your dimmer switch. By following these procedures, you can identify and address issues promptly, ensuring optimal performance.

Compatibility with Modern Upgrades

Compatibility with Modern Upgrades Image

As the automotive landscape evolves, so do the possibilities for upgrades and enhancements. The 1968 Camaro dimmer switch diagram isn't confined to the past; it seamlessly integrates with modern upgrades. Refer to the image above to visualize how this classic component can adapt to contemporary enhancements, ensuring compatibility with the latest technologies and innovations.

Installation Guidelines for Optimal Performance

Installation Guidelines for Optimal Performance Image

As we conclude our exploration, it's essential to understand the installation guidelines for optimal performance. The image above provides a visual roadmap, ensuring that you successfully implement the insights gained from the 1968 Camaro dimmer switch diagram. By following these guidelines, you'll enhance the performance of your vehicle's lighting system, bringing a touch of nostalgia to the roads.

In essence, the 1968 Camaro dimmer switch diagram serves as a gateway to understanding the electrical intricacies of a classic vehicle. With each section explored, you gain a deeper insight into the role, location, and functionality of the dimmer switch, empowering you to maintain, troubleshoot, and upgrade with confidence. As you navigate the landscape of your 1968 Camaro's lighting system, the visual aids provided serve as invaluable companions, offering clarity and guidance throughout your journey.

Another point of view about 1968 CAMARO DIMMER SWITCH DIAGRAM.

So, you're diving into the realm of the 1968 Camaro dimmer switch diagram? Awesome choice! Let's chat about it in a conversational tone and break it down:

  1. Locating the Dimmer Switch: First things first, finding this little guy is like a treasure hunt. Check under the dash, usually near the driver's side – that's where the magic happens.

  2. Deciphering Wire Color Codes: Now, wires can be a bit like a rainbow, but fear not! Each color has a job. This is your decoder ring to understand what's what in the wiring universe.

  3. Role of the Dimmer Switch: Picture this – you're the maestro of your car's lighting symphony. The dimmer switch lets you control the mood, setting the stage for your drive.

  4. Connection Points Demystified: Ever felt lost in a maze? Not anymore! Our handy diagram shows you the way, demystifying those connection points and making you the wiring wizard.

  5. Step-by-Step Removal Process: Need to swap out the dimmer switch? No worries. Follow the steps, and you'll have it out and replaced like a pro in no time.

  6. Common Wiring Issues: Cars can be a bit finicky, right? Our diagram highlights the common hiccups, so you can troubleshoot like a seasoned mechanic and keep those lights shining bright.

  7. Testing Procedures for Fault Diagnosis: Wondering if your dimmer switch is throwing a tantrum? The testing procedures got your back. It's like a health checkup for your car's lighting system.

  8. Compatibility with Modern Upgrades: Yep, your '68 Camaro can totally vibe with modern tech. See how the dimmer switch diagram plays nice with upgrades, keeping your classic ride in sync with the times.

  9. Installation Guidelines for Optimal Performance: Wrapping it up, follow these guidelines for a smooth ride. Our visual roadmap ensures you install that dimmer switch with finesse, guaranteeing your car's lighting is on point.

So, there you have it – your guide to the 1968 Camaro dimmer switch diagram. Dive in, explore, and let the wiring adventures begin!

Conclusion : Illuminate Your Ride: Discover the 1968 Camaro Dimmer Switch Diagram for Brighter Journeys!.

In conclusion, the exploration of the 1968 Camaro dimmer switch diagram opens a window into the intricate tapestry of vintage automotive engineering. As we navigate the labyrinth of wires and connections, it becomes evident that this diagram serves as a vital roadmap for enthusiasts and mechanics alike. Delving into the nuances of the wiring system, highlighted by the 1968 Camaro dimmer switch diagram, unveils a profound understanding of the vehicle's lighting dynamics.

For enthusiasts seeking to preserve the authenticity of their classic rides, the 1968 Camaro dimmer switch diagram emerges as a beacon of knowledge. It not only facilitates maintenance and troubleshooting but also provides a gateway to appreciating the craftsmanship of automotive design from a bygone era. As we bid farewell to this exploration, may the insights gained from the 1968 Camaro dimmer switch diagram illuminate your journey, instilling confidence in deciphering the electrical intricacies that lie beneath the surface of your timeless ride.

Question and answer Illuminate Your Ride: Discover the 1968 Camaro Dimmer Switch Diagram for Brighter Journeys!

Questions & Answer :

People Also Ask About the 1968 Camaro Dimmer Switch Diagram:

  • 1. Where is the dimmer switch located in a 1968 Camaro?

    Located under the dash, usually near the driver's side, the dimmer switch in a 1968 Camaro is strategically positioned for easy access and control of the vehicle's lighting system.

  • 2. How do I decipher the wire color codes in the diagram?

    Deciphering the wire color codes is crucial. Refer to the diagram, where each color corresponds to a specific function. For detailed instructions, match the colors to the legend provided to understand the purpose of each wire.

  • 3. Can I upgrade the dimmer switch for modern features?

    Yes, the 1968 Camaro dimmer switch diagram allows for compatibility with modern upgrades. Follow the provided instructions to seamlessly integrate advanced features while retaining the classic charm of your vehicle.

  • 4. What are the common wiring issues and how do I address them?

    Common wiring issues, such as frayed wires or loose connections, are highlighted in the diagram. Follow the numbered steps to troubleshoot and address these issues, ensuring the optimal functioning of your vehicle's lighting system.

  • 5. Are there specific testing procedures for diagnosing faults?

    Absolutely. The diagram provides clear instructions for testing procedures. Follow each step to diagnose faults effectively, ensuring a comprehensive assessment of the dimmer switch's functionality and identifying any potential issues.

  • 6. How do I safely remove and replace the dimmer switch?

    For a step-by-step removal process, consult the diagram. The provided instructions guide you through the safe removal and replacement of the dimmer switch, allowing you to perform maintenance with confidence.

These instructions aim to empower enthusiasts and mechanics with the knowledge needed to navigate the intricacies of the 1968 Camaro dimmer switch diagram, ensuring a smooth and informed experience in managing the vehicle's lighting system.

Keywords : 1968 CAMARO DIMMER SWITCH DIAGRAM

0 comments